The Patent of Ukraine: №96848
Author: Tkachenko Yuriy Vladimirovich
IPC Section: B63G 13/00 – Other means of attack or defense ships. Vessels characterized by these means
IPC Section: E04H 17/10 – Hedges, fences, paddocks, characterized by the use of wires of special purpose, such as barbed wire, characterized by the method of connecting wire to the posts. Suspensions.
IPC Section: F41H 11/08 – barbed wire; barricades; stockade; tank traps; means preventing the promotion vehicles; yezh
Published: 12.12.2011, Bulletin Number 23
Engineering Sea-craft security system Antipirat – the Patent of Ukraine №96848
- Engineering sea-craft security system, which consists of at least one section with a protective element in the form of twisted spiral barbed wire Egoza with vertical support units installed at regular intervals from each other. In this spiral turns are secured to the support nodes that establish a stable barrier, characterized in that each support unit is configured in the form of an essentially vertical pillar. Rack member fixed to the lower part, which is attached to the deck of the vessel, and the upper movable part with stops its motion, which is mounted on top of the deployment and rolling up windings barbed tape formed mainly in the form of hand-operated winch. In this winch has several winding reels with locking mechanisms, for example, the ratchet as well as the top movable part of the rack mounted bracket, formed as a cross multipath rays which exceeds the radius of turns of the barbed wire Egoza. On cantilevered ends of the cross are made holes for the passage of the paired cables, as well as a central aperture for passage of a central rope, one end of which is fixed in winding the winch drum and the second ends of the cables except center associated with the mobile spider crosspiece similar design size and the number of beams, wherein the first coil of barbed wire attached to an arm of multipath, and the last round – a spider cross-piece, in addition, the free end of the central rope has a hook for attaching the rope to the adjacent node support.
- The system of claim 1, which is characterized in that the security element used barbed wire Concertina with sharp-barbed elements in the form of butterflies with aggressive edges, and a reinforcing wire made of high-quality stainless steel with high spring properties and resistance to aggressive environments in particular salt water.
The invention relates to the production of security installations and systems, which include piercing and cutting elements, and can be used for the manufacture of engineered systems for the protection of various operating and other objects, particularly ships, from unauthorized access to these people.
Despite the constant development of civilization, unfortunately, in the sea areas are still preserved medieval reception mastery of another property – the usual piracy, which during last years only increases. Methods of attack on seagoing vessels have remained almost the same, only replaced by more modern weapons and the purpose of the attacks. If before the pirates tried to seize the treasure, now they demand a ransom for the ship. But this has not changed the essence of theft – the illegal actions of the pirates.
To protect the ship from pirate attacks, at the present level of human development, developed many sorts of protective systems, the design of which the latest achievements of science and technology, for example, infrasound, etc. But most of them do not apply the owners of vessels, mainly because of the high cost, low reliability, inefficiency, an extension is not only pirates, but also members of the crew, the necessity of training the team to use the system of protection, but also sometimes a danger to the crew, etc. Therefore, they are in the vast majority to not find application in modern courts.
Consequently, despite technological progress, mankind again and again to a reliable and structurally simple conventional fences, which are either completely prevent the penetration of the ship of pirates or detain them for a while, you need to prepare the team for appropriate action standoff attack. There are many designs of simple and robust fencing, but not all are suitable for marine use.
Hence, it is known wire fence, which includes poles, dug in the ground or mounted on any surface, at a distance from one another, between which stretched rows of horizontal wire without any damaging elements to them (see the copyright certificate USSR № 628 277 from the class E04H17 / 02, published in 10.15.1978).
The main disadvantage of this fencing is its low barrier properties which are due, firstly, the absence of striking elements on the wires, and because they can capture his hands without the wounds, and secondly, the absence of any connection between the rows of wire vertically, and hence you can easily shrug and climb between the rows of wire stretched and it is so freely enter the protected area.
This shortcoming is partially eliminated in the barbed wire, which contains half frames located at a certain distance from one another, each of which consists of two vertical pillars, dug in the ground or mounted on any surface and rigidly interconnected top crossbar. All half frames interconnected upper and lower horizontal beams welded to the vertical column of half-frames. Located between mentioned slats mesh net that is formed tangle of wires without damaging elements to them (see the USA patent № 4,165,864 of the grade E04H 17/04, B21F 27/00, published in 28.08.1979).
Despite the fact that the cellular structure of the grid does not allow to push the wires and form a free passage between the closet, but the lack of submunitions on a wire mesh grid allows for them trapped by hands without the injury, it is easy to climb over the fence and enter the security area.
It is also known guard to protect against unauthorized entry of persons to the protected area that contains vertical columns, which are welded to the horizontal crossbar, made from metal parts. To these cross shafts with a certain interval vertical welded lath, which are made of metal rolling straight dihedral angles. The upper ends of the pillars and mesh length have every right dihedral angle to form the stud at this end (see Russian Federation patent № 2,296,203 from the class E04H17 / 14, published in 27.03.2007, in the Bulletin 9).
The main disadvantage of this fence is that it does not provide adequate protection from thieves protected area. Since the vertical lath installed at regular intervals, that is, to form, albeit small, but still the same space between them, the attacker can effortlessly take hold of the top horizontal bar between neighboring laths and easy to climb over the fence without damaging while on prongs. The given fencing can be effective only as an obstacle to large animals, but it is not effective as a protective structure of the perpetrators of the protection regime.
This disadvantage is eliminated in a security barrier "Dikobraz", which consists of a set of spherical protective elements, each of which comprises a reinforced twisted barbed tape wound on a wire-base or barbed tape crimped onto the portion of the side surface of the wire-base crimped in space frame. The space frame is made in the shape of a sphere, which is formed meridional coils wound or crimped barbed tape and rigid equatorial ring installed inside the coils wound or crimped barbed tape. Coils wound or crimped barbed tape bonded to each other at the poles of the sphere and the equatorial ring. The security barrier is set as follows: the first ready-spherical protective element is attached to a vertical or inclined stand at the poles of the sphere and on-site security abroad; further, near the first spherical protective member disposing the second, third and so on similar spherical protective elements over the whole length of the safety barrier, thus forming a protective boundary (see Russian Federation patent № 2,272,113 class E04H17 / 04, published in 20.03.2006, in Bulletin 8).
The main drawback of the safety barrier is that spherical protective elements not bonded to each other along the length of the security boundary. Therefore, any of them are quite easy to rip off the counter or pull, tilt it downwards, taking, for example, a conventional hook to form a free passage through the protective line as the rest of the spherical protective elements prevent such shearing, or bending one of them, because the spherical elements are not linked. And it is this fact (lack of unity and integrity of the design throughout its length) is too reduces the effectiveness of the protection of security of objects with known security barrier.
The most similar in nature and effect is achieved, and that is taken as a prototype, is an engineering-defense system, which consists of at least one section with a protective element in the form of a twisted like a spiral barbed tape with multiple vertical support nodes installed at certain intervals from each other, wherein the coils of the helix is fixedly attached to the support nodes in two locations – at the top and bottom, that allows to create, according to the author, resistant barrier. In the state of storage system and a scroll wrap support assemblies are pressed one by one. With the construction of engineering protection of the first (extreme) support node is fixed to the ground or attached to any other surface. Then begin to deploy the security element, pulling it from the first support node. The distance between the windings increases and enlarges the distance between support nodes. Each additional node support is also fixed on the ground or attached to any other surface. After fixing the last node support system relies deployed and prepared for the operation that is prepared to perform protective functions (see the international application WO 2007/078307 of the number of class B21F25 / 00, published in 12.07.2006).
The main disadvantage of the given engineering and defense system is its low barrier properties, which are caused by the lack of horizontal elements strung between the turns, which would form a space frame to maintain the coils of barbed wire. Due to the absence of such a framework should support sites located almost next to each other. In the opposite case, the coils of barbed wire between neighboring nodes support will simply sag downwards. But a large number of support nodes and increasing complexity of known metal content protection system increases its cost and size, in particular, an overall length when folded. Consequently, there is a technical contradiction: on the one hand, support nodes turns barbed wire should be as much as possible and are located should be a close one to one to prevent the sagging of said windings, and on the other hand, they should be as small as possible to reduce the design complexity, its cost and its size in the assembled state.
Another significant drawback of the known engineering and defense system is the impossibility of its operational installation or assembly of the need to consolidate (detachment), i.e. basing, support each node based on the – on the ground or any other surface. This method of deployment or convert in an assembled state due to the imperfection of the structure known defense system. Therefore, the well-known defense system is impractical to use on ships as a means to prevent the penetration of pirates on the deck. Add more problems unfolding system in rough seas. And if you do not remove the protective system in general, that is, leave it on a permanent basis, it will not interfere with the crew during maneuvers the vessel will impede emergency escape ship interfere when loading – unloading in ports, do not let the leisure marine ships located near the bead, and enjoy the sea views from behind the barbed wire, let’s agree with this annoyed thing.
The base of the invention is the task of expanding the functionality and improving the technical properties of engineering defense system by its mobility deployment and rolling up and compactness in the assembled state by changing the principle of the deployment of the modification of the security element support nodes i.e. barbed wire.
The solution of this problem is achieved by the fact that the engineering and defense system to protect the ships, which consists of at least one section with a protective element in the form of a twisted into a spiral of barbed wire Egoza with vertical support nodes installed at regular intervals from each other. This spiral coils are attached to the nodes of support that allow you to create a stable barrier. According to the invention, each node is configured to support the predominantly vertical racks, which consists of a lower fixed part that is attached to the deck of the vessel and an upper movable part with stops its motion, which is mounted on top of the drive-clotting deployment windings barbed tape. Drive means, preferably in the form of a winch with a manual drive, and the winch has several winding reels with locking mechanisms, for example, the ratchet as well as the top movable part of the rack mounted bracket formed as a multipath cross, the beams of which exceeds the radius of turns of the barbed tape on cantilevered ends of which are provided with holes for the passage of the paired cables, as well as a central aperture for passage of a central rope, one end of which is fixed in winding the winch drum and the second ends of the cables except center associated with the mobile spider crosspiece similar design size and number of rays , the first round of the barbed tape is attached to the arm of multipath, and the last round a spider cross-piece addition, the free end of the main cable is equipped with a hook for attaching the rope to the adjacent node support.
The solution of the problem is also achieved by the fact that the engineering and defense system to protect the ships used for the protective element of barbed wire Egoza or barbed wire Egoza with sharp-barbed elements in the form of butterflies with aggressive sharp. Moreover, the reinforcing wire is made from high-quality stainless steel with high spring properties and resistance to aggressive environments, such as salt water.
Due to the fact that the proposed defense system engineering and the last round of the protective element can be separated from an adjacent rack (support unit), twisted like a spiral of barbed wire can be folded into a compact bay that contains the bracket spider cross-piece to the previous column (supporting unit). That is, the protective member has the ability to coagulate or unfold by cables and winches. At the same time cables constitute an inner frame, which prevents sagging of turns of the spiral Egoza.
Movable elements engineering protection system enables the crew, if necessary, to quickly build a security barrier or to remove it. The rotatable upper part racks allow positioning the protective element in the unfolded state outside the hull (per side) and in the storage position – on deck (near the sides). Consequently, the proposed system does not create any obstruction or inconvenience to the crew during the movement of the deck, virtually no space on the deck that is quite compact, safe for the crew. In the collapsed state does not violate the aesthetics of modern merchant ship or passenger liner, does not interfere with mooring in ports near the quays does not interfere with loading and unloading, which makes the proposed defense system engineering and useful is the appropriate for use on ships.
Use in the engineering of the proposed defense system is only one spiral reinforced barbed tape and less massive in comparison with the prototype, supporting pillars, it can significantly reduce the metal content and the total weight of the protective structure, which makes its use on merchant ships economically feasible.
Through the use of barbed wire Egoza greatly increased safety and technical and operational characteristics of the proposed engineering and defense system, since, firstly, a wire cannot be easily damaged, allowing you to gain time, need to attack the ship for military aid, and secondly, sharp-barbed elements of the barbed wire have greater lethality in comparison with the usual barbed wire, and therefore, there is a strong possibility that the pirates will stop trying to climb aboard, fearing serious injury, thirdly, barbed wire through reinforcement and manufacture of high-quality high-carbon stainless steel high spring properties is more resistant to aggressive environments, in particular, to the salty water, and therefore last longer.
It is understood that sections of mentioned protective structure may be a little and together they encircle the hull along its perimeter. In this embodiment, the protective barrier are arranged in series, wherein one section is attached to the other via the central rope with a hook at a free end to which it clings to the eyelet is fixedly secured at the outside (opposite from the holding barbed wire) side of the other arm section. Thus, the proposed protective barrier achieves a technical result of the task.



Further essence of the proposed invention is explained in conjunction with illustrative material on which the following picture:
- Figure 1 – general view installed on board a supporting unit of the proposed defense system engineering and transport (collapsed) state of the security element;
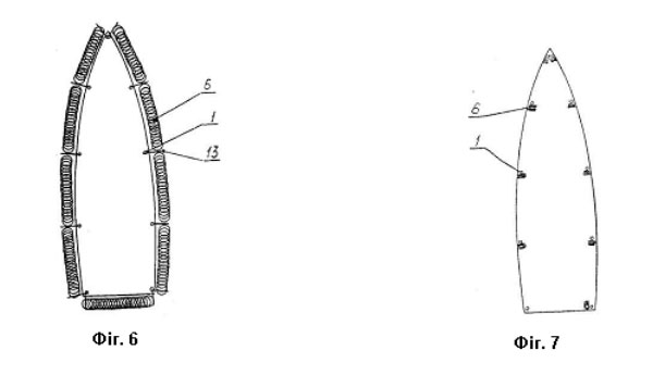
- Figure 2 – hand winch, a plan view;
- Figure 3 – general view of one section of the frame for the protective element of the proposed defense system engineering;
- Figure 4 – general view of one section of the proposed defense system engineering and in working order, installed on board the vessel;
- Figure 5 – fixing the protective element on the adjacent site support;
- Figure 6 – placing sections engineering protective system running on the perimeter of the vessel during the threat of piracy attacks, top view;
- Figure 7 – the same in the storage position.
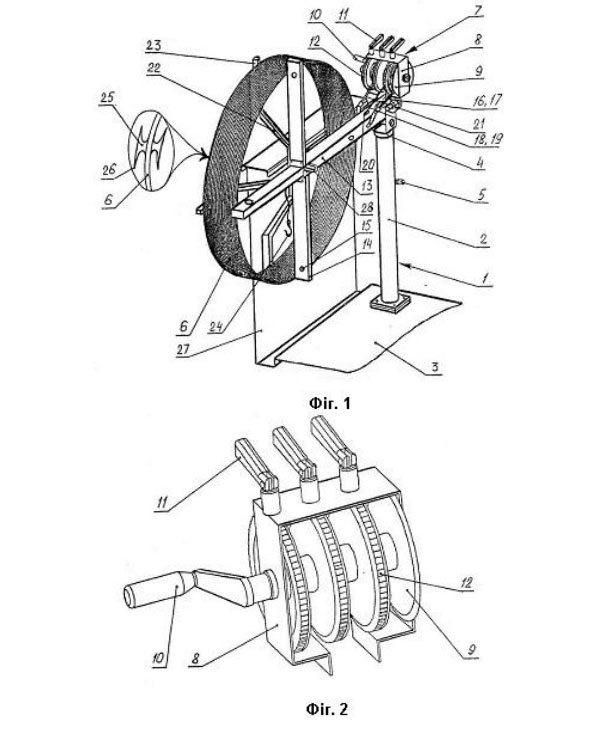
Each section of the proposed engineering protection system consists of a vertical upright 1, which is structured from a lower fixed part 2, which is attached to the deck 3 of the vessel, and an upper movable part 4 with a clamp 5 of its movement. The upper movable part 4 coaxially rack 1 is set to the lower fixed part 2 and has two degrees of freedom – may move along the lower fixed part 2 in the vertical direction and rotated in a circle in a horizontal plane relative to the lower fixed part 2 rack 1. Thus, one double rack with the upper part 4, that is capable to turn around 180 degrees and to climb to the bottom part 2. The length of both parts 2 and 4 of the rack 1 provided with holes in which the retainer 5 is inserted, formed for example as a conventional retaining pin simple finger-type structure. At the upper end of the movable part 4 pillar 1 mounted drive deployment – clotting turns barbed wire 6 made of, for example, a conventional manual winch 7, which comprises a housing 8 with three reels 9 and the handle 10 of rotation of the drums 9 and a corresponding number (three) of the handle 11 to lock rotation of the reels 9. Fixing drum 9 in a stationary state by means of the locking mechanism performed, for example, a conventional ratchet 12.
The upper movable part 4 rack 1 is set, for example, welded arm 13 is formed as a multi-beam crosses, for example, four radiation (which is such a cross shown in the exemplary material), the beams 14 which exceeds the radius of turns of the barbed wire 6 on cantilevered ends of which are made hole 15 for the passage of the paired cables 16 and 17, 18 and 19 as well as a central opening 20 for passage of a central tether 21. One ends of all the ropes 16, 17, 18, 19 and 21 are fixed to the winding reels 9 winch 7. The paired cables 16 and 17, 18 and 19 are secured in the outer drum 9, and the central cable 21 – the average drum 9. The opposite (free) ends of the paired cables 16 and 17, 18 and 19, except for the central 21 – linked (attached) with a movable spider crosspiece 22 similar design size and the number of rays 23. In the form of spider design allows 22 between its beams and rays 14 23 13 bracket positioning the coils of barbed wire 6 in the storage. The first round of barbed wire attached to multipath 6 bracket 13, and the last round – a spider cross-piece 22.
The free end of the main cable 21 is equipped with a hook 24 for fastening of the cable 21 on the adjacent (contiguous) support site. All cables 16, 17, 18, 19 and 21 of the beams 14 disposed within the bracket 13.
For shielding member engineering and protective systems used barbed wire Concertina 6 with piercing-cutting elements 25 in the form of butterflies with aggressive spikes 26. The reinforcing wire made of high-quality stainless steel with high spring properties and resistance to aggressive media, in particular salt water.
Further essence of the proposed technical solution is explained, along with the principle of its operation. In the initial state (storage state) turns barbed tape 6 is pressed against the arm 13 of spider crosspiece 22, the drums 9 are fixed ratchet arm are deployed along the side 27 and is located above the deck 3. To one section of the proposed engineering protection system to translate in operation state, first remove tab 5 (pull pin), the movable part 4 of the rack 1 is lifted up and rotated so that the bracket 13 with bay barbed wire 6 overboard vessel, and then fix the mutual position of parts 2 and 4 of the rack in a selected state with using the same latch 5 (pin inserted in the hole moving and stationary parts 2 and 4 of the rack 1). Starring with the middle of the handle 11 to block the middle of the drum 9, in which the central wound wire 21, said unwound wire and hook 24 at the end of a hook on the tab 28, the bracket 13 adjacent racks 1, which is also pre-deployed over the side of the vessel 27. With extreme blocking handles 11 is removed from the other drum 9, which leads to the possibility of unwinding the wires 16 and 17, 18 and 19 which are unwound due to the spring properties of arbitrarily compressed between the bracket 13 and the spider 22 crosspiece spiral barbed wire Egoza 6. Wherein said spider crosspiece 22, subjected to pressure spirals of barbed wire 6 moves relative to the tensioned cable 21 to the central focus of the hook 28 on the end of it. Thus, a framework for a security element and do a spiral of barbed wire Concertina 6 evenly placed on it.
In order to bring the section described in the original position, with the knob 10 is rotated drums 9, which are secured to the cables 16 and 17, 18 and 19, in the direction of winding. As a result, spider cross-piece 22 will be forced to move relative to the tensioned cable 21 toward the bracket 13 and rolling (squeeze) the spiral of barbed wire 6 in a tight compact bay. After completing the winding wires 16 and 17, 18 and 19 on the drum 9, they are fixed in this state by means of respective handles 11 on the hand winch housing 7. The hook 24 of the central cable 21 is uncoupled from the adjacent rack 1, and the average switching drum 9 in the winding direction using the handle 10 begin to wind the cable 21 on the center said drum 9. Thereafter, the whole construction process described above or fixed vertically with respect to the ship, or to the need, the rack 1 is returned to its original position and again fixed horizontally.
Essential difference of the proposed technical solutions is known from the above, is that the engineering system has a protective rotary support nodes and mobile frame for shielding member configured system cables which is wound on reels collected spiral barbed wire Concertina in compact coils. These differences, together, allow the use of the proposed engineering defense system to protect ships from pirate attacks. None of the known security barriers have not mentioned properties as their protective elements are rigidly connected to their supporting units and have no skeletons, which would allow them to transform into a more convenient transport structure.
The proposed technical solution tested in practice. Engineering and safety system to protect ships from pirates does not contain any components and assemblies, which would be impossible to recreate in the present stage of development of science and technology, in particular, the production of safety barriers and protective fences, and hence is suitable for industrial use, has the technical and other advantages over known such protective structures, which confirms the possibility of achieving a technical result object that is claimed.
The main technical advantages of the proposed technical solution are compared with the prototype, include the following:
- Providing the possibility of installing both permanent and temporary basing on the decks of ships due to the presence in the construction of rotary racks and frames for mobile protective elements;
- Ensuring reliable perimeter protection vessel by allowing the coaxial placement of individual sections of the security fence, connected to each other;
- Decrease of metal construction with preservation of its protective properties through the use of only one coil of barbed wire and fidget less massive supports;
- Improving technical properties of the security element due to the fact that it is made of reinforced barbed wire Egoza, more resistant to mechanical and other damage;
- Improving the efficiency and reliability of the perimeter protection of ships from pirate attacks for the same reason;
- Versatility can be used on all types of vessels.
Social benefits from the implementation of the proposed technical solution are compared with the prototype, obtained due to the fact that its installation on ships is safe for the crew members even in heavy seas and maneuvering the vessel, allowing forming a reliable barrier to prevent unauthorized access to the deck vessel.
The economic effect of the introduction of the proposed technical solution, as compared with the use of a prototype prepared by ease of manufacturing fence, lighter weight design that does not reduce significantly boat load, and use as a protective element reinforced with barbed wire Egoza, which is more resistant to damage and is more long service life, which together reduces the cost of the proposed defense system engineering.
After the description of the proposed engineering protective system skilled in the art knowledge it should be apparent that all of the above is merely illustrative, and not limiting, having been presented by this example. Numerous possible modifications rope flexible carcass for the protective element, in particular, the number, size cables, quantity, length and thickness of the beams cross, variants of the sections of the protective element and their combination on the perimeter of the vessel may vary in different ratios, and of course, within the scope of one of the conventional and natural approaches knowledge in the art and are considered to be within the scope of the technical solutions.
The highlight of the proposed technical solution is that the security element is wound on a mobile frame made of ropes, which allows you to collect a spiral of barbed wire in a compact bay, and the front is made with a rotary fixing the protective element in the position behind and above board. These circumstances, together, provide the proposed defense system engineering and listed other advantages. The change and the use of only individual components of engineering and defense system naturally limits the range of the above advantages, and cannot rely on the new technical solution in this area of expertise. As others described engineering protection system, will no longer require any creativity of designers and engineers and cannot rely on the results of their creative activity and new intellectual property that fall under the protection of titles of protection in accordance with applicable law.