Patent of Russia: № 2569609
Author: Tkachenko Yuriy Vladimirovich
Section of the IPC: B21F 29/00 - Manufacturing of fences or similar products partially made of wire
Section of the IPC: E04H 17/04 - Fences, fences, cattle pens characterized by the use of special wire, for example, barbed wire
Section of the IPC: B21F 27/08 - Manufacture of wire cloth, i.e. wire meshes, with additional connecting elements or materials at wire crossings
Published: 25.04.2014, Bulletin 8
A method for manufacturing "Akatsiya" razor mesh barrier – Patent of Russia № 2569609
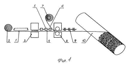
The invention relates to the manufacture of protective perimeters of objects from unauthorized entry into their territory of individuals, machinery and animals. The method includes winding a continuous razor wire of a desired length practically with no gaps between the turns and mechanically joining along the coil of parallel adjacent coil turns with each other by means of metal staples in staggered order and with a predetermined pitch. In this case, the drum is turned into the position required for the installation of the bracket. After the staples are installed along the entire diameter of the bay, it is cut in the longitudinal direction, straightened into a plane and stretched by turns until a flat razor mesh is formed. Increases productivity, simplifies the manufacturing technology, provides the possibility of complete automation of the process.

