The patent of Ukraine: №125862
Author: Tkachenko Yuriy Vladimirovich
Section of the IPC: B21F 25/00 – Barbed wire, mesh, fencing, wire fabrics
Published: 22.06.2022, Bulletin №25/2022
Razor Tape
Razor tape made from a metal tape containing a central section reinforced with an elastic wire of round cross-section, which is fixed and held on it by the rolled edges of the same central section of the tape, and a large number of opposite pairs of elements that are integrally formed with it, and the pairs of elements are located along the central section of the tape evenly, and also each element in a pair consists of a base and oppositely directed spikes made on the outer sides of the element, while between the sides of the elements of adjacent pairs of elements an internal wide space is formed, which is externally limited by the tips of the teeth of these elements, which differs in that that in the internal wide space there are additional opposite pairs of striking elements, which are also integrally formed with the central section, but have a lower base height and form another tier of striking elements, and in the first and second tiers of striking elements their spikes are counter-directed and are in the same plane.
The invention relates to mixed production, namely to the production of razor tape, which is used to construct security barriers designed to prevent unauthorized entry into sensitive facilities. Reinforced razor tape is known, obtained from a metal tape, containing a central section and a large number of opposite pairs of elements integrally formed with it, and the pairs of elements are located evenly along the central section of the tape, and each element in the pair consists of a base and oppositely directed ones. teeth made on the outer sides of the element, while between the sides of the elements of adjacent pairs of elements an internal wide space is formed, which is externally limited by the tips of the teeth of these elements. The central section of the tape is reinforced with a central elastic wire, predominantly of a circular cross-section, which is fixed and held on it by the rolled edges of the same central section of the tape [see. Pat. Ukraine No. 33526 from class B21F 25/00 published on June 26, 2008 in Bulletin. No. 12].
The main significant drawback of the known technical solution is the low striking ability of the razor tape, which is due to the location of the meetings of the directed teeth at the same level. If the clothes of a regime violator get caught between the teeth and get caught on the sharp teeth, freeing him from the teeth is quite simple: just pull the clothes away from one tooth and then free him from the other. This is due to the fact that the opposing pairs of teeth are at a certain distance and have a certain space between them, in which there are no mechanical obstacles to apprehend a clothing intruder. The closest in essence and the achieved effect and taken as a prototype is a light barrier consisting of a razor tape obtained from a metal tape containing a central section and a large number of opposite pairs of elements integrally formed with it, and the pairs of elements are located evenly along the central section of the tape , and also each element in a pair consists of a base and oppositely directed spikes, which are made without gaps between the striking elements using the same type of ellipsoidal leaks along the tangent sides and are additionally deployed in the radial direction. one relative to the other at an angle of about 45° [see. Pat. Russian Federation No. 85107 from class B21F 25/00 published on July 27, 2009 in Bulletin. No. 21]. Despite the fact that this lightweight fence has a three-dimensional structure due to the development of elements along its longitudinal axis, the damaging properties of the razor tape are minimized by the development, since each element is rotated relative to the previous one by 45°, in principle there are no counter-directed spikes, and This means that if clothing gets caught on one spike, the clothing can be easily removed from the spike without even getting hurt. That is, this lightweight barrier has low stopping properties, which is its significant technical disadvantage. The basis of the invention is the task of increasing the protective properties of razor tape by providing the internal space between the striking elements with a second tier of striking elements with counter-directed spikes, but located below the spikes of the main striking elements by fundamentally changing the design of the razor tape.
The solution to the problem is achieved by the fact that the razor tape is obtained from a metal tape, containing a central section and a large number of opposite pairs of elements integrally formed with it, and the pairs of elements are located evenly along the central section of the tape, and also each element in the pair consists of a base and oppositely directed spikes made on the outer sides of the element, while between the sides of the elements of adjacent pairs of elements an internal wide space is formed, which is externally limited by the tips of the teeth of these elements, according to the proposal, in the internal wide space there are additional opposite pairs of striking elements, which are also integrally formed with the central section, but have a lower base height and form another tier of damaging elements.
The central section of the razor tape can be reinforced with a central elastic wire, predominantly of a circular cross-section, which is fixed and held on it by the rolled edges of the same central section of the tape. The use of an internal wide space to accommodate additional impressive elements lower in height does not in any way increase the dimensions of the razor tape, in particular its width. The presence of a second tier of destructive elements increases the likelihood of detaining an intruder, since, as practice shows, counter-directed spikes on different tiers make it too difficult to free clothing stuck between them, since the distance between the spikes is quite limited, and their location in different tiers does not impede the release movement, since thorns also in the upper tier.
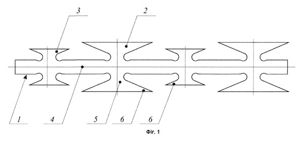
Thus, the set of essential features obtained due to the arrangement of additional impressive elements in a wide space between the main destructive elements on the new tier ensures an increase in the stopping properties of the proposed razor tape, and, consequently, the achievement of a solution to the problem. The subsequent essence of the proposed technical solution is explained together with illustrative material, which shows the proposed razor tape without reinforcement of the central section (Fig. 1) and with reinforcement of the central section with elastic wire (Fig. 2).


The proposed razor tape is obtained from metal tape 1 by stamping striking elements of the first 2 (outer tier) and impressive elements 3 of the second (inner tier). The central area 4 and the impressive elements 2 and 3 are a solid structure. Moreover, the striking elements 2 and 3 are located evenly along the central section of the tape 4 1. Each striking element 2 or 3 consists of a base 5 and oppositely directed spikes 6. Between the sides of the striking elements 2 located next to each other, an internal wide space is formed in which the striking elements are formed 3 (lower tier).
The central section 4 of the razor tape can be reinforced with a central elastic wire 7, preferably of circular cross-section, which is fixed and held there by the rolled edges of the same central section 4 of the tape 1.
The razor tape of the proposed design is used as follows.
A fence is made from razor tape, fixed to the ground or to poles. Elastic wire 7 makes it possible to obtain a three-dimensional structure of the fence, in the case when the central section 4 is reinforced with it. When trying to violate a security fenced object, the spikes 6, located at different levels, reliably grab the clothes of the intruder and significantly complicate his release, since the spikes 6 are directed in the opposite direction different tiers, together with the spikes 6 on the upper tier, do not form free space between the damaging elements 2 and 3. Thus, the proposed razor tape more reliably prevents the possibility of penetration into a sensitive object due to its higher ability to engage.
A significant difference of the proposed technical solution, in comparison with previously known ones, is that the spikes of the striking elements are located counter-directed at different levels, and the inner tier of the striking elements is located in the space between the striking elements of the outer tier, which makes it possible to maintain the overall dimensions of the razor tape with simultaneous. increasing retention properties. None of the known razor tapes can have the indicated properties, since they do not contain two-tiered, striking counter-directed spikes.
The proposed technical solution has been tested in practice. Razor tape does not contain a single element in its composition that cannot be reproduced at the current level of development of science and technology, in particular, in the field of manufacturing protective fences from razor tape, and, therefore, is considered industrially suitable. No similar razor tapes have been found in the patent and scientific and technical literature, with a set of essential features that gave it new useful properties, which means that the proposal is considered new.
The technical advantages of the proposed technical solution compared to the prototype include the following:
- increasing amazing properties due to the presence of a second tier of counter-directed spikes;
- storage of the overall dimensions of the tape (width) due to the fact that the second tier of damaging elements is located in the internal space between the striking elements of the outer tier.
The social effect from the implementation of the proposed technical solution compared to the use of the prototype will be achieved by enhancing the protective properties of razor tape.